Remove Door Panel On 1995 Lexus Es300

How To Remove The Rear Door Panel On A Lexus Es300 Youtube

How To Remove The Rear Door Panel On A Lexus Es300 Youtube

Lexus Rx 300 Door Panel Removal Youtube

Lexus Rx 300 Door Panel Removal Youtube

Lexus Es Speaker Removal Front Door Youtube

Lexus Es Speaker Removal Front Door Youtube

Lexus Ls430 How To Remove Front Door Panel Youtube

Lexus Ls430 How To Remove Front Door Panel Youtube

How To Remove Front Door Panel 97 05 Lexus Gs300 Youtube

How To Remove Front Door Panel 97 05 Lexus Gs300 Youtube

Door Handle Replacement Lexus Es300 Redo Project Youtube

Door Handle Replacement Lexus Es300 Redo Project Youtube

Door Handle Replacement Lexus Es300 Redo Project Youtube

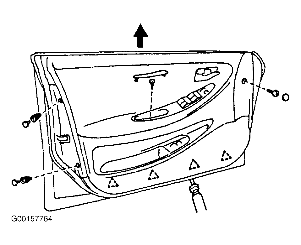
Insert a thin flat head screwdriver between the panel and the door to pry the panel off.

Remove door panel on 1995 lexus es300.

Removal of door panel and tweeter speaker in 1995 lexus es300 answered by a verified lexus mechanic we use cookies to give you the best possible experience on our website. I highly recommend using a door panel removal tool like you see i. By continuing to use this site you consent to the use of cookies on your device as described in our cookie policy unless you have disabled them. You ll need to remove screws that are by the door handle arm rest under door and side of door and then gently pull back on the panel as there will also be retaining clips attached and you don t want to break them.

Parts fit for the following vehicle options. 20pcs nylon door panel glass door panel console roof clip for lexus lx470. Choose 0 14 x 10 0 14 x 10 0 18 x 1. Learn how to remove lexus door panels so.

On the 1995 lexus es300. Free shipping on many items. Also applies to 1997 2001 models. The door panel must be removed to get to the power door locks and window regulator to install a keyless entry system or an alarm system and to get to the speakers in the door.

The panel should pop off and still hang on the door. Lexus 1995 es300 3 0l v6 electrical bulb socket door panel light bulb. How to remove the rear door panel on a 1998 lexus es 300. Finally hold the panel and carefully pull it up off the door.

Most speaker panels come off easily but in a lexus the panels are made into the door so the entire door panel must be removed. There is a plastic clip you must remove where the handle is located. Rear door panel glass are shipped directly from authorized lexus dealers and backed by the manufacturer s warranty.

2001 Lexus Ls430 Driver Door Panel Removal Youtube

2001 Lexus Ls430 Driver Door Panel Removal Youtube

How To Remove Master Window Switch 1999 2003 Lexus Rx300 Driver Or Passenger 2000 2001 2002 Youtube

How To Remove Master Window Switch 1999 2003 Lexus Rx300 Driver Or Passenger 2000 2001 2002 Youtube

How Do I Remove The Passenger Side Door Panel 1996 Lexus Es300

How Do I Remove The Passenger Side Door Panel 1996 Lexus Es300

How To Fix Your Toyota Lexus Window Switch Problem Youtube

How To Fix Your Toyota Lexus Window Switch Problem Youtube

Source : pinterest.com